Power Supply Rig 30A
From OnnoCenterWiki
Revision as of 04:43, 14 August 2022 by
Unknown user
(
talk
)
(Created page with "
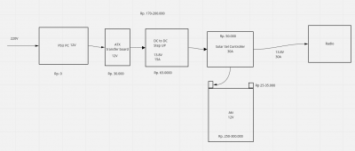
center|400px|thumb
")
(diff) ← Older revision |
Latest revision
(
diff
) |
Newer revision →
(
diff
)
Jump to navigation
Jump to search
Navigation menu
Page actions
Page
Discussion
Read
View source
History
Page actions
Page
Discussion
More
Tools
Personal tools
Log in
Navigation
Main page
Recent changes
Random page
Help about MediaWiki
Special pages
Search
Tools
What links here
Related changes
Printable version
Permanent link
Page information